トリビアンテナ- 5chまとめアンテナ速報
TOP
ABOUT
ニュース
VIP・なんJ
芸能・アイドル
スポーツ
ゲーム
アニメ・漫画
お金
生活・美容
ちょっぴりえっち
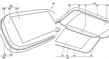
【朗報】任天堂次世代機、DS互換の模様
2023.10.31
ゲーム
えび通
HOME
ゲーム
【朗報】任天堂次世代機、DS互換の模様
あわせて読みたい
選挙で連戦連敗したのを揶揄された左派漫画家、「選挙こそが民主主義という考え方は間違いだ」と言い張ってしまい……
今年発売したPS5独占ソフトwwwwwww
【真夜中の高校から出火】化学実験後に捨てられた薬品が”ゴミ箱で化学反応”を起こし発火か…教室の一部が焼けるもケガ人なし…釧路工業高校が臨時休校に
【ドラクエ7】 海底王の家の行き方とマップ・ちいさなメダル【リイマジンド】
伊原陵人「僕から言えることはありません」
『名越スタジオ』を心配する声が少なすぎる件
【値崩れ速報】コストコ Switch2ソフト投げ売り開始 カービーメトロイド半額
転覆船への乗船を拒否した後発組の引率教師、「なんかの嫌がらせなの? 無神経だし、冒涜やな」な処置を受けていたと発覚し……
選挙で連戦連敗したのを揶揄された左派漫画家、「選挙こそが民主主義という考え方は間違いだ」と言い張ってしまい……
今年発売したPS5独占ソフトwwwwwww
【朗報】任天堂次世代機、DS互換の模様
続きを読む
続きを見る
ゲーム
カテゴリの最新記事
2026.04.19
えび通
,
今年発売したPS5独占ソフトwwwwwww
2026.04.19
なんJGamers
,
【ドラクエ7】 海底王の家の行き方とマップ・ちいさなメダル【リイマジンド】
2026.04.19
ゆるゲーマー遅報
,
『名越スタジオ』を心配する声が少なすぎる件
2026.04.19
えび通
,
【値崩れ速報】コストコ Switch2ソフト投げ売り開始 カービーメトロイド半額
2026.04.19
ゆるゲーマー遅報
,
【キャラゲーは除外】クソゲーだったのに売れてしまったゲーム、第一位が「闘神伝」に決まる
2026.04.19
えび通
,
マリオみたいなアスレチックメインのアクションゲームが出ない謎